金蝶星辰找不到凭证科目?已经录入凭证,为什么在查凭证页面查不到?
日期:2025-09-25 17:48:26 | 人气:
已录入凭证,在凭证列表搜索不到对应的凭证,可按以下几种情况排查:
情况1:检查查询凭证的筛选条件
查凭证界面默认显示当前会计期间凭证,如已录入后面期间的凭证,可自定义筛选条件查询

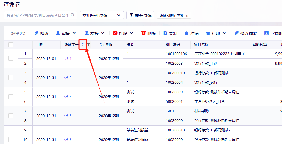
情况2:检查凭证号的排序情况
查凭证界面默认按照凭证日期进行排序,可点击凭证字号字段,按照凭证号进行排序。

情况3:检查一页凭证显示的页数
情况4:检查权限的设置
用管理员账号检查是否设置了科目或制单人的数据授权,比如设置了子账号只能看到“张三”做的凭证,则其他的人凭证无法查看
情况5:检查凭证是否被删除
通过【系统设置】-【操作日志】查看凭证的删除记录;若已被删除,则无法查询。
通过以上情况逐一排查,即可解决查不到凭证问题。如还是无法解决,请联系我们

